उत्पाद अवलोकन
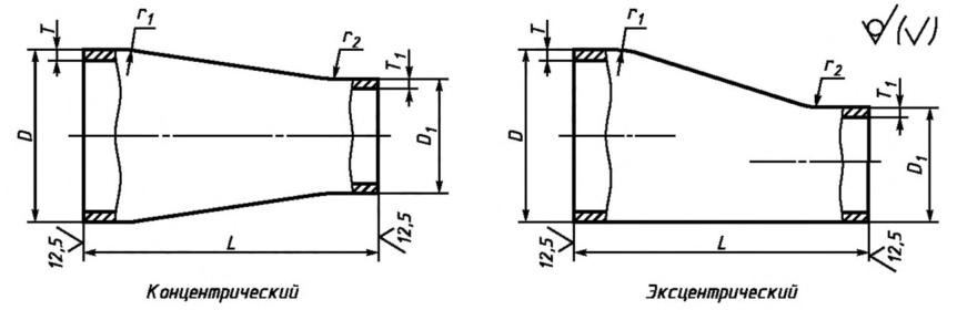
गोस्ट रिड्यूसरएक पाइप फिटिंग है जिसका उपयोग विभिन्न व्यास के पाइपों को जोड़ने के लिए किया जाता है। इस उत्पाद में एक निर्बाध संरचनात्मक डिज़ाइन है और यह दो प्रकारों में उपलब्ध है, संकेंद्रित और विलक्षण। यह उन संप्रेषण प्रणालियों के लिए उपयुक्त है जो उच्च-तापमान, उच्च{{3}दबाव और संक्षारक मीडिया को संभालती हैं।



विशिष्टता
GOST 17378 के तहत निम्नलिखित सामान्य आयामी पैरामीटर हैं जो विभिन्न पाइप व्यास संक्रमण आवश्यकताओं के लिए उपयुक्त DN20 से DN1000 तक विभिन्न रेड्यूसर संयोजनों को कवर करते हैं:

|
डीएन |
D |
D1 |
L |
डीएन |
D |
D1 |
L |
|
DN20/15 |
26.9 |
21.3 |
38 |
डीएन300/150 |
323.9 |
168.3 |
203 |
|
डीएन25/15 |
33.7 |
21.3 |
51 |
डीएन300/200 |
323.9 |
219.1 |
203 |
|
डीएन25/20 |
33.7 |
26.9 |
51 |
डीएन300/250 |
323.9 |
273 |
203 |
|
डीएन32/15 |
42.4 |
21.3 |
51 |
डीएन350/200 |
355.6 |
219.1 |
330 |
|
डीएन32/20 |
42.4 |
26.9 |
51 |
डीएन350/250 |
355.6 |
273 |
330 |
|
डीएन32/25 |
42.4 |
33.7 |
51 |
डीएन350/300 |
355.6 |
323.9 |
330 |
|
डीएन40/20 |
48.3 |
26.9 |
64 |
डीएन400/250 |
406.4 |
273 |
356 |
|
डीएन40/25 |
48.3 |
33.7 |
64 |
डीएन400/300 |
406.4 |
323.9 |
356 |
|
डीएन40/32 |
48.3 |
42.4 |
64 |
डीएन400/350 |
406.4 |
355.6 |
356 |
|
डीएन50/25 |
60.3 |
33.7 |
76 |
डीएन450/300 |
457 |
323.9 |
381 |
|
डीएन50/32 |
60.3 |
42.4 |
76 |
डीएन450/350 |
457 |
355.6 |
381 |
|
डीएन50/40 |
60.3 |
48.3 |
76 |
डीएन450/400 |
457 |
406.4 |
381 |
|
डीएन65/32 |
76.1 |
42.4 |
89 |
डीएन500/350 |
508 |
355.6 |
508 |
|
डीएन65/40 |
76.1 |
48.3 |
89 |
डीएन500/400 |
508 |
406.4 |
508 |
|
डीएन65/50 |
76.1 |
60.3 |
89 |
डीएन500/450 |
508 |
457 |
508 |
|
डीएन80/40 |
88.9 |
48.3 |
89 |
डीएन600/400 |
610 |
406.4 |
508 |
|
डीएन80/50 |
88.9 |
60.3 |
89 |
डीएन600/450 |
610 |
457 |
508 |
|
डीएन80/65 |
88.9 |
76.1 |
89 |
डीएन600/500 |
610 |
508 |
508 |
|
डीएन100/50 |
114.3 |
60.3 |
102 |
डीएन700/450 |
711 |
457 |
610 |
|
डीएन100/65 |
114.3 |
76.1 |
102 |
डीएन700/500 |
711 |
508 |
610 |
|
डीएन100/80 |
114.3 |
88.9 |
102 |
डीएन700/600 |
711 |
610 |
610 |
|
डीएन125/65 |
139.7 |
76.1 |
127 |
डीएन800/500 |
813 |
508 |
610 |
|
डीएन125/80 |
139.7 |
88.9 |
127 |
डीएन800/600 |
813 |
610 |
610 |
|
डीएन125/100 |
139.7 |
114.3 |
127 |
डीएन800/700 |
813 |
711 |
610 |
|
डीएन150/80 |
168.3 |
88.9 |
140 |
डीएन900/600 |
914 |
610 |
610 |
|
डीएन150/100 |
168.3 |
114.3 |
140 |
डीएन900/700 |
914 |
711 |
610 |
|
डीएन150/125 |
168.3 |
139.7 |
140 |
डीएन900/800 |
914 |
813 |
610 |
|
डीएन200/100 |
219.1 |
114.3 |
152 |
डीएन1000/700 |
1016 |
711 |
610 |
|
डीएन200/125 |
219.1 |
139.7 |
152 |
डीएन1000/800 |
1016 |
813 |
610 |
|
डीएन200/150 |
219.1 |
168.3 |
152 |
डीएन1000/900 |
1016 |
914 |
610 |
|
डीएन250/125 |
273 |
139.7 |
178 |
||||
|
डीएन250/150 |
273 |
168.3 |
178 |
||||
|
डीएन250/200 |
273 |
219.1 |
178 |
अनुप्रयोग
1.गोस्ट रिड्यूसरइसका उपयोग विद्युत ऊर्जा उद्योग जैसे बॉयलर और भाप पाइपलाइन में किया जाता है।
2.गोस्ट रिड्यूसरइसका उपयोग जहाज निर्माण और समुद्री इंजीनियरिंग में भी किया जाता है।
3. इसका उपयोग नगरपालिका जल आपूर्ति और जल निकासी हीटिंग और गैस इंजीनियरिंग में भी किया जाता है।
पैकिंग
हम पैकेजिंग के लिए लकड़ी के बक्से और लकड़ी के पैलेट का उपयोग करते हैं, जिसकी आपूर्ति क्षमता प्रति माह 1000 टन है।
लोकप्रिय टैग: गोस्ट रिड्यूसर, चीन गोस्ट रिड्यूसर निर्माता, आपूर्तिकर्ता, कारखाने
